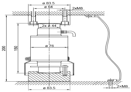
BR016D baskı tipi dijital yük hücresi, çelik alașım yapıda, IP68 koruma sınıfına sahip dijital çıkıșlı bir yük hücresidir. Esas olarak araç kantarları ve benzer ağır kapasiteli tartım uygulamaları için tasarlanmıștır.

 

Salınan pin yapısı ile uygulanan kuvveti otomatik olarak merkezleyen yapısı ile hassas ve doğru tartım performansı sağlar.

 

Dijital teknolojisi sayesinde arızalı yük hücresinin numarası tartım indikatörü göstergesinde belirtilir ve tüm ayarlar doğrudan cihaz tușları ile yapılır. Böylece, BR016D dijital yük hücreli bir kantarda, arızanın tespit edilmesi ve değișim sonrası ayarların yapılarak arızanın giderilmesi, analog yük hücreli kantarlara göre çok daha kolay ve hızlı olarak yapılır.

 

BR016D dijital yük hücresi ile analog yük hücreli kantarlara oranla daha doğru, hassas ve güvenilir tartım performansı sağlar.

Öne Çıkan Özellikler

Bağlantı

Dijital

Tip

Baskı Tipi

Uygulamalar

Kamyon Kantarı, Tank & Silo Tartımı, Yüksek Kapasiteli Uygulamalar, Özel Tartımlar, Endüstriyel Prosesler, Test Makineleri

Sertifika

OIML

Materyal

Nikel Kaplamalı Alaşımlı Çelik

Maksimum Kapasite

20 t, 25 t, 30 t, 40 t, 50 t

Koruma Sınıfı

IP68

certificates
certificates
certificates
certificates

Teknik Özellikler

technic